科研速递

中国云南元谋发现最早的长臂猿化石——元谋小猿Yuanmoupithecus xiaoyuan

发布时间:2022-09-28 作者:
来源:
分享:

元谋小猿生活场境复原图。陈瑜 绘图
 
 
元谋小猿幼年上颌骨
 
 
元谋小猿MicroCT影像图
 
 
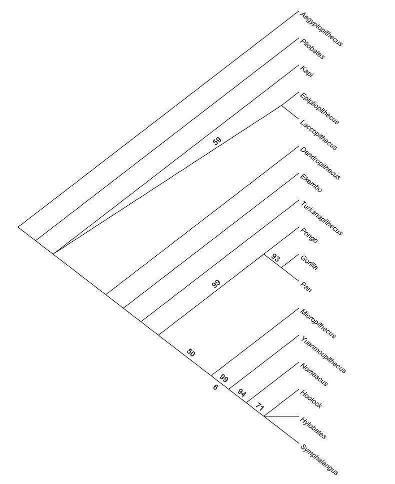
元谋小猿的分支系统关系
 
 
中国西南(云南元谋)发现最早的长臂猿化石
 
(化石网整理)据中国科学院昆明动物研究所昆明动物博物馆(吉学平):中国西南(云南元谋)新发现的小型猿类化石提供了已知最早长臂猿的证据。现今,长臂猿科现存20种,主要生活在中南半岛的亚洲热带、亚热带地区,包括我国华南和东南亚。在我国境内现存仅4-6种。然而,此类化石非常稀少,多数是发现于华南和东南亚不老于200万年前的洞穴地点中。云南元谋新发现的被命名为元谋小猿( Yuanmoupithecus xiaoyuan)的小型猿类,被科学家团队确定为迄今发现的最早的长臂猿,这一发现将长臂猿化石记录向前推至距今7-8百万年前。论文于9月13日发表于国际人类学领域经典刊物《Journal of Human Evolution(人类进化)》杂志。来自中国科学院昆明动物研究所,纽约大学、中国科学院古脊椎动物与古人类研究所、云南省文物考古研究所、中国科学院地质与地球物理研究所、云南大学、楚雄州博物馆和元谋人博物馆的学者参加了此项考察和研究。 
 
研究团队详细描述了收藏于云南省文物考古研究所、元谋人博物馆、昆明动物博物馆的元谋小猿牙齿和新发现的不到两岁的不完整的左下侧面骨化石。牙齿和面骨的形态特征与现生长臂猿尤其是冠长臂猿类非常相似,但有些特征更原始,指示其可能为所有现生长臂猿的祖先。根据元谋小猿牙齿大小计算,元谋小猿与现生长臂猿的平均体重相近,大约为6千克左右。 
 
此前发现于印度中中新世(距今12.5-13.8百万年)的一枚下第三臼齿,被命名为 Kapi ramnagarensis, 原研究者声称为更早的长臂猿,研究团队经过详细的分析对比证实,这一发现不是长臂猿,而是与现生猿类没有密切关系的更原始的灵长类,可能与印度晚中新世古猿有亲缘关系。 
 
该研究项目负责人,昆明动物所昆明动物博物馆研究员吉学平,在一次野外调查中发现了元谋小猿幼年面骨这一关键的标本,他多次到昆明动物所标本库与现生长臂猿头骨进行对比,确认标本属于长臂猿类,并到古脊椎所开展了高精度CT扫描。2018年,邀请纽约大学人类进化中心教授Terry Harrison及其他合作者,对云南省文物考古研究所和元谋人博物馆过去30年来收藏的出自元谋的长臂猿牙齿标本开展研究,首次得知长臂猿祖先类群面部特征的信息。尽管元谋小猿标本非常稀少,但经过细致的分析对比研究,最终可以证实元谋小猿是现生长臂猿的晚中新世时期的最可能的直接祖先。 
 
该研究项目的主要合作者,Terry Harrison认为:元谋小猿的发现填补了之前一直不清楚的东亚小型猿类进化史的一段空白。遗传学研究表明,长臂猿从人和猿共同祖先的支系分化出来的时间大约是距今22-17百万年,而冠长臂猿类祖先分化的时间大约为距今8百万年前。此次发现连同之前云南昭通发现的金丝猴最早的祖先--中猴化石的证据表明,分子证据与化石证据推断的物种起源时间基本吻合,古生物形态学和分子生物学研究结果可以相互印证。然而,关于长臂猿科的演化,目前还有1000多万年的“缺环”有待发现,在华南和东南半岛持续的野外科考可能发现更多的长臂猿进化史的关键证据,尤其是6-2百万年间的空白时段,这一时段也是古老型灵长类动物群向现代型灵长类动物群交替的关键时期。 
 
该研究得到国家自然科学基金、云南省自然科学基金基础研究重点项目、中科院战略先导B计划等项目的经费资助。 
 
相关:云南元谋发现目前最早的长臂猿祖先化石
 
(化石网整理)据央视新闻客户端(总台记者 赵鹏):日前,国际人类学领域经典刊物Journal of Human Evolution刊发论文,确定云南省楚雄彝族自治州元谋县新发现的元谋小猿是迄今最早的长臂猿祖先化石。这一发现将长臂猿化石记录向前推至距今700万—800万年前。
 
长臂猿科现存20种,主要生活在中南半岛的亚洲热带、亚热带地区,包括我国华南和东南亚。在我国境内现存仅4~6种。然而,此类化石非常稀少,多数是发现于华南和东南亚的洞穴中。
 
研究团队详细描述了收藏于云南省文物考古研究所、元谋人博物馆、昆明动物博物馆的元谋小猿牙齿和新发现的不到两岁的不完整的左下侧面骨化石。牙齿和面骨的形态特征与现生长臂猿尤其是冠长臂猿类非常相似,但有些特征更原始,指示其可能为所有现生长臂猿的祖先。根据元谋小猿牙齿大小计算,元谋小猿与现生长臂猿的平均体重相近,大约为6千克。
 
在一次野外调查中,中科院昆明动物所研究员吉学平发现了元谋小猿幼年面骨这一关键的标本,他多次到昆明动物所标本库与现生长臂猿头骨进行对比,确认标本属于长臂猿类,并到古脊椎所开展了高精度CT扫描。尽管元谋小猿标本非常稀少,但经过细致的分析对比研究,最终可以证实元谋小猿是现生长臂猿的晚中新世时期的最可能的直接祖先。
 
相关:我国西南发现已知最早的长臂猿化石
 
(化石网整理)据新华社昆明9月27日电(记者 岳冉冉):古生物学家在云南元谋盆地发现了距今700万年至800万年的小型猿类化石,命名为元谋小猿,并证明这是已知最早的长臂猿。该成果已于近日发表在国际期刊《人类进化杂志》上。
 
长臂猿科现存20个种,主要生活在亚洲热带、亚热带地区。长臂猿化石非常稀少,多数在我国华南及东南亚的洞穴中被发现。
 
项目负责人、中科院昆明动物研究所研究员吉学平介绍,30多年前,古生物学家曾多次发现过代表多个个体的元谋小猿牙齿化石,前期研究定为小型猿类。之后,在一次野外调查中,吉学平偶然发现了元谋小猿的左下侧面骨化石,在多次与现生长臂猿头骨比对后,初步确认标本属长臂猿类。
 
之后,研究团队在中科院古脊椎动物与古人类研究所开展了高精度CT扫描,确定这个面骨化石属于一长臂猿幼年个体,年纪在17至22个月之间。根据牙齿大小比例计算,元谋小猿接近现生长臂猿平均体重,约为6千克。
 
经过深入研究,元谋小猿的牙齿和面骨的形态特征与现生长臂猿,尤其是冠长臂猿类非常相似,但有些牙齿特征显得更原始。“尽管元谋小猿标本还比较稀少,但关键材料的发现,让我们最终证实元谋小猿是现生长臂猿最可能的直接祖先。”吉学平说。
 
遗传学研究表明,长臂猿从人和猿共同祖先的支系分化出来的时间在距今2200万至1700万年,而冠长臂猿类祖先分化的时间约在距今800万年。“这说明,分子证据与化石证据推断的长臂猿起源时间基本吻合,古生物形态学和分子生物学研究结果可相互印证。”吉学平说。
 
据介绍,元谋小猿的发现,填补了之前不清楚的东亚小型猿类进化史的一段空白。该成果由中科院昆明动物研究所昆明动物博物馆、纽约大学人类起源研究中心、中科院古脊椎动物与古人类研究所等单位共同完成。
 
相关:云南元谋发现目前最早的长臂猿祖先化石
 
(化石网整理)据湖北日报客户端:9月13日,国际人类学领域经典刊物《Journal of Human Evolution》刊发论文,确定云南元谋新发现的元谋小猿是迄今最早的长臂猿祖先化石。这一发现将长臂猿化石记录向前推至距今7-8百万年前。
 
据悉,这块化石是中国科学院昆明动物研究所昆明动物博物馆研究员吉学平在野外调查中发现,经过与昆明动物研究所标本馆的现生长臂猿头骨进行对比,并开展高精度CT扫描对比研究,最终确认标本属于长臂猿类。
 
2018年,吉学平邀请Terry Harrison及其他合作者,对保存在中科院昆明动物研究所、云南省文物考古研究所和元谋人博物馆的近三十年采集相关标本、尤其是新发现的面骨化石进行研究,首次获得了长臂猿祖先类群面部特征信息,进而证实元谋小猿是现生长臂猿在晚中新世时期的最可能直接祖先。根据元谋小猿牙齿大小为参考,估计出元谋小猿体重大约为6千克左右,与现生长臂猿的平均体重相近。Terry Harrison认为:元谋小猿的发现填补了之前一直不清楚的东亚小型猿类进化史的一段空白。
 
研究团队还发现,此前发现于印度中中新世(距今12.5-13.8百万年)的一枚下第三臼齿 Kapi ramnagarensis, 不是长臂猿,而是另一种原始的小型猿类。
 
此次的发现表明,分子证据与化石证据推断的物种起源时间基本吻合,古生物形态学和分子生物学研究结果可以相互印证,为用交叉学科手段解决生物多样性起源问题提供了重要案例。然而,长臂猿科演化目前还有1000多万年的“缺环”有待发现,未来有望在华南和中南半岛持续的野外科考中发现更多有关长臂猿进化史的关键证据,尤其是填补6-2百万年间的这一关键的由古老型灵长类动物群向现代型灵长类动物群交替的空白时段。
 
相关:云南元谋发现迄今最早长臂猿化石
 
(化石网整理)据云南网(记者 张琦敏):近日,国际人类学领域经典刊物《人类进化》杂志刊发论文,确定云南元谋新发现的元谋小猿是迄今最早的长臂猿祖先化石。这一发现将长臂猿化石记录向前推至距今7-8百万年前。
 
据悉,长臂猿科现存20种,主要生活在中南半岛的亚洲热带、亚热带地区,包括我国华南和东南亚。在我国境内现存仅4-6种。然而,此类化石非常稀少,多数是发现于华南和东南亚不老于200万年前的洞穴地点中。云南元谋新发现的被命名为元谋小猿的小型猿类。
 
研究团队详细描述了收藏于云南省文物考古研究所、元谋人博物馆、昆明动物博物馆的元谋小猿牙齿和新发现的不到两岁的不完整的左下侧面骨化石。牙齿和面骨的形态特征与现生长臂猿尤其是冠长臂猿类非常相似,但有些特征更原始,指示其可能为所有现生长臂猿的祖先。根据元谋小猿牙齿大小计算,元谋小猿与现生长臂猿的平均体重相近,大约为6千克。
 
该研究项目负责人昆明动物所昆明动物博物馆研究员吉学平,在一次野外调查中发现了元谋小猿幼年面骨这一关键的标本,他多次到昆明动物所标本库与现生长臂猿头骨进行对比,确认标本属于长臂猿类,并到古脊椎所开展了高精度CT扫描。2018年,邀请纽约大学人类进化中心教授Terry Harrison及其他合作者,对云南省文物考古研究所和元谋人博物馆过去30年来收藏的出自元谋的长臂猿牙齿标本开展研究,首次得知长臂猿祖先类群面部特征的信息。尽管元谋小猿标本非常稀少,但经过细致的分析对比研究,最终可以证实元谋小猿是现生长臂猿的晚中新世时期的最可能的直接祖先。
 
该研究项目的主要合作者Terry Harrison认为,元谋小猿的发现填补了之前一直不清楚的东亚小型猿类进化史的一段空白。遗传学研究表明,长臂猿从人和猿共同祖先的支系分化出来的时间大约是距今22-17百万年,而冠长臂猿类祖先分化的时间大约为距今8百万年前。此次发现连同之前云南昭通发现的金丝猴最早的祖先--中猴化石的证据表明,分子证据与化石证据推断的物种起源时间基本吻合,古生物形态学和分子生物学研究结果可以相互印证。然而,关于长臂猿科的演化,目前还有1000多万年的“缺环”有待发现,在华南和东南半岛持续的野外科考可能发现更多的长臂猿进化史的关键证据,尤其是6-2百万年间的空白时段,这一时段也是古老型灵长类动物群向现代型灵长类动物群交替的关键时期。
 
该研究得到国家自然科学基金、云南省自然科学基金基础研究重点项目、中科院战略先导B计划等项目的经费资助。来自中国科学院昆明动物研究所,纽约大学、中国科学院古脊椎动物与古人类研究所、云南省文物考古研究所、中国科学院地质与地球物理研究所、云南大学、楚雄州博物馆和元谋人博物馆的学者参加了此项考察和研究。
 
相关:云南元谋发现最早长臂猿化石
 
(化石网整理)据科技日报(记者 赵汉斌):记者27日从中国科学院昆明动物研究所获悉,该所近期联合纽约大学、中科院古脊椎动物与古人类研究所、云南省文物考古研究所、云南大学等机构,为在我国云南元谋新发现的小型猿类化石提供了已知最早长臂猿的证据。论文发表在国际人类学期刊《人类进化》上。
 
长臂猿科现存20种,主要生活在中南半岛的亚洲热带、亚热带地区,包括我国华南和东南亚。在我国境内现仅存4至6种。
 
“被命名为元谋小猿的小型猿类,把长臂猿化石记录向前推至700至800万年前。”研究项目负责人、昆明动物博物馆研究员吉学平介绍,他们详细描述了收藏于云南省文物考古研究所、元谋人博物馆、昆明动物博物馆的元谋小猿牙齿,以及新发现的不完整左下侧面骨化石,多个特征指示其可能是所有现生长臂猿的祖先。根据牙齿大小计算,元谋小猿与现生长臂猿平均体重相近,约为6千克。
 
在一次野外调查中,吉学平发现了幼年元谋小猿面骨这一关键标本。他多次到昆明动物所标本库与现生长臂猿头骨进行对比,并通过高精度CT扫描,确认标本属于长臂猿类。2018年,又邀请纽约大学人类进化中心教授泰瑞·哈里森及其他合作者,对云南省文物考古研究所和元谋人博物馆过去30年来收藏的出自元谋的长臂猿牙齿标本开展研究,首次得知长臂猿祖先类群面部特征的信息。尽管标本稀少,但经过细致分析研究,证实元谋小猿是现生长臂猿的晚中新世时期最可能的直接祖先。
 
泰瑞·哈里森认为,元谋小猿的发现,填补了东亚小型猿类进化史的一段空白。遗传学研究表明,长臂猿从人和猿共同祖先的支系分化出来的时间,距今约2200-1700万年,而冠长臂猿类祖先分化的时间距今约800万年前。
 
新发现与此前在云南昭通发现的金丝猴最早祖先——中猴化石的证据表明,分子证据与化石证据推断的物种起源时间基本吻合,古生物形态学和分子生物学研究结果可以相互印证。“但关于长臂猿科的演化,目前还有1000多万年的‘缺环’有待发现。”吉学平说。
 
相关:云南元谋发现已知最早的长臂猿化石
 
(化石网整理)据昆明日报掌上春城(记者 罗昆娅):古生物学家在云南元谋盆地发现了距今700万年至800万年的小型猿类化石,命名为元谋小猿,并证明这是已知最早的长臂猿。该成果已于近日发表在国际期刊《人类进化杂志》上。
 
长臂猿科现存20个种,主要生活在亚洲热带、亚热带地区。长臂猿化石非常稀少,多数在我国华南及东南亚的洞穴中被发现。
 
项目负责人、中科院昆明动物研究所研究员吉学平介绍,30多年前,古生物学家曾多次发现过代表多个个体的元谋小猿牙齿化石,前期研究定为小型猿类。之后,在一次野外调查中,吉学平偶然发现了元谋小猿的左下侧面骨化石,在多次与现生长臂猿头骨比对后,初步确认标本属长臂猿类。
 
之后,研究团队在中科院古脊椎动物与古人类研究所开展了高精度CT扫描,确定这个面骨化石属于一长臂猿幼年个体,年纪在17至22个月之间。根据牙齿大小比例计算,元谋小猿接近现生长臂猿平均体重,约为6千克。
 
经过深入研究,元谋小猿的牙齿和面骨的形态特征与现生长臂猿,尤其是冠长臂猿类非常相似,但有些牙齿特征显得更原始。“尽管元谋小猿标本还比较稀少,但关键材料的发现,让我们最终证实元谋小猿是现生长臂猿最可能的直接祖先。”吉学平说。
 
据介绍,元谋小猿的发现,填补了之前不清楚的东亚小型猿类进化史的一段空白。该成果由中科院昆明动物研究所昆明动物博物馆、纽约大学人类起源研究中心、中科院古脊椎动物与古人类研究所等单位共同完成。
 
相关:云南元谋发现最早的长臂猿化石
 
(化石网整理)据中新社昆明9月27日电(记者 胡远航):记者27日从中国科学院昆明动物研究所获悉,该所科研人员在云南省楚雄彝族自治州元谋县新发现的元谋小猿,被确定为迄今发现的最早的长臂猿祖先化石。这一发现将长臂猿化石记录向前推至距今700万-800万年前。相关研究成果于日前发表在国际人类学领域经典刊物《Journal of Human Evolution(人类进化)》杂志上。
 
据介绍,这块化石是中国科学院昆明动物研究所研究人员在野外调查中发现,为一块不到两岁的元谋小猿的不完整左下侧面骨化石。经过与昆明动物研究所标本馆的现生长臂猿头骨进行对比,并开展高精度CT扫描对比研究,最终确认属于长臂猿类。
 
2018年,由中国科学院昆明动物研究所、纽约大学、中国科学院古脊椎动物与古人类研究所、云南省文物考古研究所、中国科学院地质与地球物理研究所、云南大学、楚雄州博物馆和元谋人博物馆多所机构组成的研究团队,对这一面骨化石和近30年来发现的元谋小猿牙齿化石开展研究,首次获得长臂猿祖先类群面部特征信息,进而证实元谋小猿是现生长臂猿在晚中新世时期最可能的直接祖先。并根据元谋小猿牙齿大小计算,估算出元谋小猿与现生长臂猿的平均体重相近,为6千克左右。
 
此外,研究团队还发现,此前发现于印度中中新世(距今1250万-1380万年)的一枚下第三臼齿(被命名为 Kapi ramnagarensis)不是长臂猿,而是与现生猿类没有密切关系的更原始的灵长类,可能与印度晚中新世古猿有亲缘关系。
 
纽约大学人类进化中心教授Terry Harrison认为,元谋小猿的发现,填补了之前一直不清楚的东亚小型猿类进化史的一段空白。
 
遗传学研究表明,长臂猿从人和猿共同祖先的支系分化出来的时间大约是距今2200万-1700万年,而冠长臂猿类祖先分化的时间大约为距今800万年前。此次发现连同之前云南昭通发现的金丝猴最早的祖先——中猴化石的证据表明,分子证据与化石证据推断的物种起源时间基本吻合,古生物形态学和分子生物学研究结果可以相互印证。然而,关于长臂猿科的演化,目前还有1000多万年的“缺环”有待发现,在华南和中南半岛持续的野外科考可能发现更多的长臂猿进化史的关键证据,尤其是距今600万-200万年间的空白时段,这一时段也是古老型灵长类动物群向现代型灵长类动物群交替的关键时期。
 
该研究得到中国国家自然科学基金、云南省自然科学基金基础研究重点项目、中科院战略先导B计划等项目的经费资助。
 
相关:已确定!云南元谋发现目前最早的长臂猿祖先化石!
 
(化石网整理)据人民日报客户端云南频道(张帆 杨文明):9月13日,国际人类学领域经典刊物《Journal of Human Evolution》刊发论文,确定云南元谋新发现的“元谋小猿”是迄今最早的长臂猿祖先化石。这一发现将长臂猿化石记录向前推至距今7-8百万年前。
 
据悉,这块化石是中国科学院昆明动物研究所昆明动物博物馆研究员吉学平在野外调查中发现,经过与昆明动物研究所标本馆的现生长臂猿头骨进行对比,并开展高精度CT扫描对比研究,最终确认标本属于长臂猿类。
 
2018年,吉学平邀请Terry Harrison及其他合作者,对保存在中科院昆明动物研究所、云南省文物考古研究所和元谋人博物馆的近三十年采集相关标本、尤其是新发现的面骨化石进行研究,首次获得了长臂猿祖先类群面部特征信息,进而证实元谋小猿是现生长臂猿在晚中新世时期的最可能直接祖先。根据元谋小猿牙齿大小为参考,估计出元谋小猿体重大约为6千克左右,与现生长臂猿的平均体重相近。Terry Harrison认为:元谋小猿的发现填补了之前一直不清楚的东亚小型猿类进化史的一段空白。
 
研究团队还发现,此前发现于印度中中新世(距今12.5-13.8百万年)的一枚下第三臼齿 Kapi ramnagarensis, 不是长臂猿,而是另一种原始的小型猿类。
 
此次的发现表明,分子证据与化石证据推断的物种起源时间基本吻合,古生物形态学和分子生物学研究结果可以相互印证,为用交叉学科手段解决生物多样性起源问题提供了重要案例。然而,长臂猿科演化目前还有1000多万年的“缺环”有待发现,未来有望在华南和中南半岛持续的野外科考中发现更多有关长臂猿进化史的关键证据,尤其是填补6-2百万年间的这一关键的由古老型灵长类动物群向现代型灵长类动物群交替的空白时段。

附件: